Правила хранения
Никаких особенных требований к хранению не существует. Как и весь остальной садовый инструмент, перед зимой его отмывают от грязи. А дальше рекомендуют обработать антикоррозионным покрытием и не хранить во влажных помещениях. Главная задача — не допустить появления ржавчины, которая может разрушить металл.
Если вы ещё не начали использовать в своих огородных и садовых заботах этот прекрасный инструмент, то рекомендуем приобрести его к следующему сезону. Многофункциональность, неприхотливость в уходе и простота в обслуживании выгодно отличают его от многих других приспособлений, коих в арсенале каждого садовода предостаточно. Научившись работать плоскорезом Фокина, часть инструментов вы уберёте и редко будете вспоминать о них.
Как сделать плоскорез своими руками
Плоскорез, сделанный вашими руками, и называться может вашим именем, а не Фокина, поскольку запатентованные предметы нельзя производить, хранить, использовать, продавать и пр. Именно поэтому и выпускаются плоскорезы, отличающиеся от оригинала размерами, формой, расположением режущих кромок, крепёжных отверстий и т. п. Оригинальные схемы и технологии передаются по лицензии, в общем доступе есть лишь примерные схемы, которые можно скорректировать по своему разумению.
Как сделать аналог большого плоскореза Фокина:
- Найдите металлическую пластину длиной не менее 40 см и шириной минимум 4 см. Рекомендуется сталь 65Г толщиной 3–4 мм.
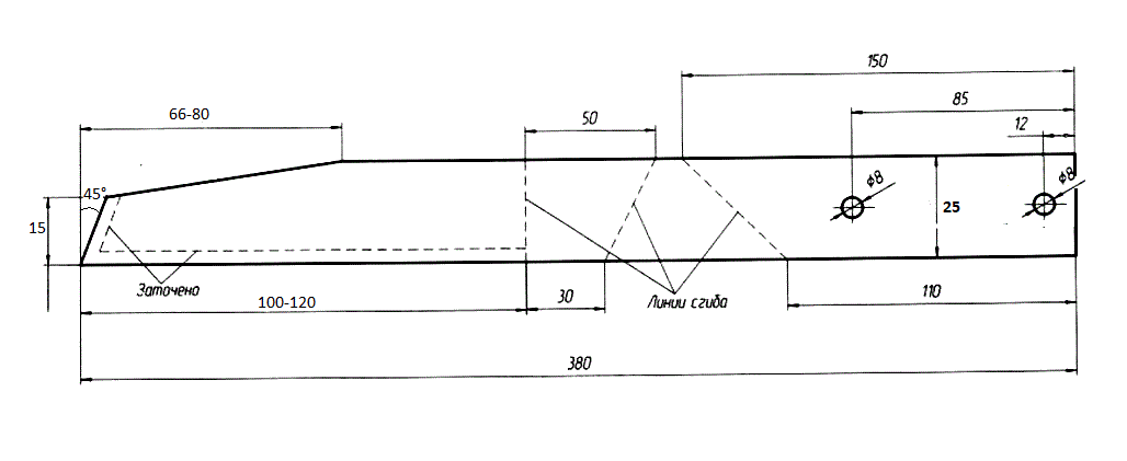
- Согласно чертежу, ножницами или ножовкой для металла вырежьте из пластины заготовку и сделайте на ней разметку. Носик, предназначенный для разбивания комков и прорезания борозд, срежьте под углом 45 °.
Самостоятельно изготовить аналог плоскореза Фокина несложно при наличии необходимых инструментов и навыков
- В местах, указанных на рисунке, просверлите дрелью с соответствующим сверлом отверстия под болты диаметром 8 мм, допускается и 6 мм.
- Нанесите на заготовку линии сгибов, зажмите в тисках и, постукивая молотком, изогните по отметкам. Можно в этом месте пластину предварительно нагреть паяльной лампой. Угол первого изгиба около 90–105 °, второго и третьего — 110–130 °.
Чтобы придать пластине форму плоскореза, её нужно согнуть по трём линиям, имеющимся на схеме
- Заточите инструмент, как уже описано выше. Можно сделать режущие кромки со всех сторон, как на плоскорезе Фокина, или только с двух, как на схеме. Некоторые точат с внутренней стороны, а не с наружной. Зависит от выполняемых вами работ — сделайте инструмент под себя.
Точно по такому же принципу делается малый плоскорез. Меняются лишь размеры: ширина — 2,5 см, длина ножа — 10–12 см. Под болты просверливаются только два отверстия.
![]()
Схема малого плоскореза пропорционально уменьшена по сравнению с большим
Как отличить от подделки
Поддельные инструменты серьезно портят репутацию оригинальных. Лезвия гнутся, лопаются, ненадежно крепятся, быстро тупятся.
Признаки оригинального изделия:
- рабочее лезвие черного цвета, хорошо заточено;
- между крепежными отверстиями выгравирована буква «Ф» или находится прозрачная наклейка с надписью белыми буквами «Судогорский плоскорез Фокина»;
- рабочая часть не гнется, не сгибается при нажатии руками или при давлении об пол.

Проверить прочность стали можно, стукнув по заточенной кромке металлическим предметом. Если будет зазубрина – сталь мягкая, инструмент некачественный.
Оригинальные инструменты (продают по два – большой и маленький) комплектуют не только болтами с напылением от ржавчины, но и брошюрой-инструкцией от автора изделия под названием «К земле с наукой». В ней подробно описан принцип органического земледелия и приемы обработки почвы.
О настоящем плоскорезе Фокина
В продаже есть множество разных инструментов, аналогичных плоскорезу Фокина: «Крепыш», «Могущник», «Гидра», «Пчёлка», «Страж», большой и малый полотники, плоскорез большой модернизированный и другие. Но Фокин Владимир Васильевич создал лишь два вида: большой и малый.
Сегодня продавцы навязывают нам свои критерии подлинности, причём визуальные и привлекательные для нас. Среди них красочная брошюра.

Такую брошюру в комплекте с плоскорезами считают доказательством подлинности
А также знаком подлинности называют клеймо-гравировку на плоскорезе в виде буквы «Ф», а иногда и наклейку «от самого Фокина».

Ещё один знак подлинности плоскореза — буква «Ф»
Инженер-изобретатель умер в 2002 году, делать гравировки и наклейки он уже не может. Даже текст Фокина В. В. в брошюре из комплекта изменён.

Разворот современной брошюры «К земле с наукой» из комплекта: текст из книги Фокина изменён — внесены описания похожих инструментов
До 2002 года настоящий инструмент можно было купить у самого Фокина. Сегодня подлинные плоскорезы Фокина изготавливает АО «Судогодское РТП». Именно это предприятие, расположенное по месту жительства изобретателя, взялось выпускать новинку тех лет. На официальном сайте даётся совет: определить подлинность можно по накладной и товарному знаку на изделии — №200829. Называется оно «Плоскорез Фокина» и никак иначе.
Это вовсе не значит, что все плоскорезы других производителей плохие. Просто их нельзя продавать под раскрученным брендом «от Фокина». Например, у меня не оригинал, продавался в местном магазине, под честным ценником «Плоскорез большой модернизированный, 1 шт.». То есть фамилия Фокина не используется. Покупали лет 5 назад, сегодня (2019 год) он стоит 205 р. Мне инструмент нравится, на участке с ним не расстаюсь, особенно весной, когда настаёт сезон грядок и посевов.
Как сделать плоскорез своими руками
Плоскорез, сделанный вашими руками, и называться может вашим именем, а не Фокина, поскольку запатентованные предметы нельзя производить, хранить, использовать, продавать и пр. Именно поэтому и выпускаются плоскорезы, отличающиеся от оригинала размерами, формой, расположением режущих кромок, крепёжных отверстий и т. п. Оригинальные схемы и технологии передаются по лицензии, в общем доступе есть лишь примерные схемы, которые можно скорректировать по своему разумению.
Как сделать аналог большого плоскореза Фокина:
- Найдите металлическую пластину длиной не менее 40 см и шириной минимум 4 см. Рекомендуется сталь 65Г толщиной 3–4 мм.
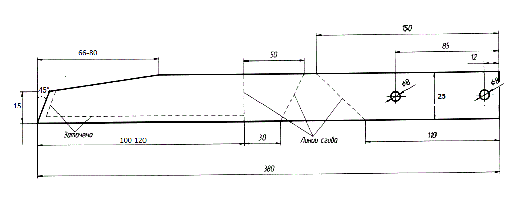
- Согласно чертежу, ножницами или ножовкой для металла вырежьте из пластины заготовку и сделайте на ней разметку. Носик, предназначенный для разбивания комков и прорезания борозд, срежьте под углом 45 °.
Самостоятельно изготовить аналог плоскореза Фокина несложно при наличии необходимых инструментов и навыков
- В местах, указанных на рисунке, просверлите дрелью с соответствующим сверлом отверстия под болты диаметром 8 мм, допускается и 6 мм.
- Нанесите на заготовку линии сгибов, зажмите в тисках и, постукивая молотком, изогните по отметкам. Можно в этом месте пластину предварительно нагреть паяльной лампой. Угол первого изгиба около 90–105 °, второго и третьего — 110–130 °.
Чтобы придать пластине форму плоскореза, её нужно согнуть по трём линиям, имеющимся на схеме
- Заточите инструмент, как уже описано выше. Можно сделать режущие кромки со всех сторон, как на плоскорезе Фокина, или только с двух, как на схеме. Некоторые точат с внутренней стороны, а не с наружной. Зависит от выполняемых вами работ — сделайте инструмент под себя.
Точно по такому же принципу делается малый плоскорез. Меняются лишь размеры: ширина — 2,5 см, длина ножа — 10–12 см. Под болты просверливаются только два отверстия.
![]()
Схема малого плоскореза пропорционально уменьшена по сравнению с большим
Лопаты штыковые
Самый распространённый садовый инструмент — это, конечно же, лопата. В частности, лопата штыковая. Несмотря на простоту конструкции, существует достаточно много её разновидностей. Прежде всего лопаты различают по марке металла, из которого они сделаны. Наиболее часто используют рельсовую или пружинную сталь. Она всем хороша, но со временем покрывается ржавчиной. Это не влияет на прочность лопаты, но увеличивает трение при вхождении в землю, то есть усилий при копании приходится прилагать несколько больше. Кроме того, к шершавой ржавой поверхности сильнее прилипает земля, опять-таки нужно затратить лишние усилия, чтобы стряхнуть её. Проблему может решить нержавеющая сталь. Она всегда блестит, как новая. Однако существенный недостаток лопаты из нержавейки — она более тяжёлая, чем сделанная из обычной стали. Лучший вариант — лопата из «крылатого металла» — титана. Лёгкая, прочная, нержавеющая, служит верой и правдой добрый десяток лет — правда, и стоит в несколько раз дороже обычного инструмента.
Чтобы улучшить характеристики лопаты, производители делают в полотне дополнительные рёбра жёсткости, продольные прорези (для уменьшения трения), зубчатый край, но всё же все штыковые лопаты подразделяются на два вида: с остроконечным лезвием и с прямым. Лопатой с прямым лезвием несколько труднее перекапывать грядки из-за большего сопротивления. Зато таким инструментом удобнее копать ямы с ровными краями, траншеи, а также разбрасывать сугробы из плотного, слежавшегося снега.

Как правильно подобрать лопату?
Подробнее
Виды плоскорезов
Плоскорез Фокина выполнен из высокоуглеродистой легированной стали. Внешне выглядит, как согнутая определенным образом пластина. Она заточена 3-мя режущими кромками (двумя длинными по бокам и одной короткой на остром конце плоскореза), которые во время использования необходимо дополнительно периодически затачивать. Чем острее заточен инструмент, тем проще им работать (почти не прилагая усилий).
Универсальный плоскорез Фокина всегда продается в комплекте («Малый» и «Большой» плоскорезы), упакованным в коробку с логотипом, в котором находятся:
- два идентичных по устройству изделия, но разных размеров (большой и маленький) и крепежи к ним;
- инструмент и крепежи (4 гайки, 4 болта и 4 гроверные шайбы) имеют антикоррозийное покрытие;
- к набору приложено свидетельство о качестве изделия от производителя.
Но типовой (универсальный) набор из двух инструментов достаточен на обычной даче, не превышающей 4-х–8-ми соток, а как быть с придомовым участком, который иногда составляет до 20-40, а то и более соток?
В настоящее время выпускают несколько разновидностей плоскореза Фокина. Ими более удобно выполнять работу на больших площадях («Полотик большой», «Полотик малый»). Рабочий орган инструментов длиннее и уже, чем у обычного большого и малого плоскорезов.
Для окучивания посадок и всходов грядок любой высоты предлагают модель плоскореза «Могушник», которая отличается широким лезвием.
Для работы на тяжелых глиноземных почвах и целине удобнее использовать «Крепыш» – ещё одна разновидность плоскореза. По сравнению с обычным большим плоскорезом, лезвие «Крепыша» укорочено без изменения ширины полотна.
Универсальный плоскорез всегда продается в комплекте («Малый» и «Большой» плоскорезы). Fokina flat cutter
Характеристика инструмента
Плоскорез включает в свою конструкцию сразу несколько садовых инструментов (небольшую лопату, грабли, косу и другие). Это универсальное оборудование позволяет выполнять значительное количество разнообразных огородных задач. Работа с тяпкой экономит физические силы и время.
- Форма инструмента — согнутая специфическим образом металлическая пластина, три края которой заточены. На рынке есть выбор между большим и малым плоскорезом. Первый предназначается для формовки, окучивания грядки, а также для избавления от сорняков или скашивания травы. Второй облегчает работы по прополке или формированию борозд для посева.
- Главная особенность — возможность удаления сорняков при помощи лезвия. Инструмент уничтожает нежелательную траву, не переворачивая земли, что позволяет сохранить структуру почвы и полезные микроорганизмы. Корни сорняков остаются в грунте и перегнивают.
- Перед началом использования оборудование следует индивидуально отрегулировать под свой рост и стиль работы, а также понять возможность и область действий. Собирая плоскорез, необходимо прикрутить два крепежа к деревянному черенку.
Сделать плоскорез Фокина своими руками для облегчения ручного труда – это стоящая идея. Обрабатывать почву быстро и качественно, используя плоскорез, понравится каждому огороднику. Теперь рыхление почвы и истребление сорняков будет простым делом, а урожайность благородных культур значительно выше.
Процесс изготовления плоскореза.
Первым этапом был отпуск металла.
- Разогрел в пламени паяльной лампы до вишнёвого цвета и оставил остывать на воздухе.
- Шлифмашинкой заточил край полотна под режущий нож.
- Просверлил отверстия для крепления к рукоятке. Трудновато, но на малых оборотах сверла процесс проходит легко.
- Мелом нарисовал линии, на которых должны быть изгибы, согласно чертежу Фокина.
- Закрепил в тисках немного выше линии изгиба отпущенный лист торсиона и, нагревая паяльной лампой место изгиба, разводным гаечным ключом согнул лист на соответствующий градус. Сгибать необходимо легко, без силы и необходимо следить, что бы не образовывались трещины или осколы. При нагреве чувствуется податливость металла.
- Следующие изгибы произвёл подобным способом.
- Самый важный момент наступает во время закалки. Пламя горелки от паяльной лампы направлялось вдоль полотна плоскореза и нагревалось до вишнёвого цвета. Перегревать не стоит.
- Удерживая большими столярными клещами за край, опустил раскалённое полотно в автомобильное масло на одну-две секунды. Две-три секунды подержал на воздухе и опустил в масло снова. Так до тех пор, пока масло не перестало кипеть на полотне. Перекал не пойдёт на пользу. Полотно легко сломается(испытано).
Второй плоскорез Фокина изготовили без термообработки и он оказался ни на сколько не хуже и таким же устойчивым к нагрузкам
Более того, сохранил упругость к изгибам, что не мало важно при рыхлении почвы
Рукоятку к плоскому ножу сделали плоской, по описанию конструктора Фокина. Удобна в удержании плоскореза при обработке и повороте в грядке. Напоминает ощущение из детства хоккейной клюшки.
Не знаю как другим, но мне для обработки огорода нравится больше мой плоскорез. Не напрягает спину и скорость обработки на много выше. Плоскорез Фокина удобен для меня на мелких грядках и им пользуюсь для прополки лука, петрушки, молодых всходов столовой зелени.
Как точить, править и хранить плоскорез Фокина
В продаже есть множество разных инструментов, аналогичных плоскорезу Фокина: «Крепыш», «Могущник», «Гидра», «Пчёлка», «Страж», большой и малый полотники, плоскорез большой модернизированный и другие. Но Фокин Владимир Васильевич создал лишь два вида: большой и малый. Заточить плоскорез Фокина можно с помощью:
- наждака;
- дрели со специальной насадкой;
- обычного абразивного бруска или наждачной бумаги, обёрнутой вокруг деревянного бруска.
Плоскорез Фокина точат по трём граням (две стороны ножа и остриё) плюс изгиб, который идёт от черенка к лезвию. Он тоже является режущей рабочей частью инструмента. Скосы находятся с наружной стороны, их и шлифуют, угол заточки — 40–50 ° к внутренней поверхности.

Заточка плоскореза Фокина выполняется с внешней стороны по трём граням, включая изгиб, брусок или круг, надо шлифовать только фаски-скосы
В случае заточки на вращающемся наждачном круге нажим должен быть минимальным, чтобы не допустить нагрева режущей кромки. Иначе она потеряет первоначальную твёрдость, станет хрупкой и не сможет выдерживать прежние нагрузки.

При заточке на наждачном круге прижим должен быть минимальным

Плоскорез правят бруском, избавляются от заусенцев, выравнивают лезвия
Легко работать только с острым плоскорезом, а чтобы он таким оставался, между заточками его придётся часто править. Постоянно следите за состоянием режущих кромок. Если образовались мелкие зазубрины, пройдитесь бруском, держа его под рекомендуемым углом — 40–50 °. Когда правка уже не помогает выровнять лезвия, заточите плоскорез, как описано выше.
Скашивание сорняков
Для борьбы с сорняками в широких межах фокинским плоскорезом работают работают также как и косой. Конечно, для больших площадей он не годится, а вот небольшой участок или труднодоступные места, куда обычной косой добраться сложно, вы обработаете без проблем.
Перед началом укоса следует собрать инструмент, используя верхнее отверстие на режущем элементе для человека со средним ростом и нижнее отверстие для человека с ростом ниже среднего.
После скашивания можно сгрести траву в кучу и перенести ее в компост, взяв инструмент в руки как вилы.
Оценить по достоинству инструмент можно только в том случае, если правильно его использовать. Многие огородники, приобретая его, недооценивают и возвращаются к привычным лопате и тяпке. В чём же дело?
Как правильно работать плоскорезом Фокина?
Правильное использование дачного инвентаря — залог оптимизации и удобств. Если же не изучить правила обращения с инструментом, то даже самый качественный не изменит работу в лучшую сторону.
Правильная работа плоскореза — это движения, параллельные поверхности участка. Если угол лезвия выставлен неправильно, параллели не получится, а потому придется немного изменить крепление.
Внимательно изучите правила работы с плоскорезом, это поможет вам сократить временные затраты
Во время работы инструментом постарайтесь расслабить спину и держать ее в ровном положении, можно лишь слегка наклонить корпус вперед. Кроме того, рекомендуется и правильное удерживание плоскореза в руках — держите черенок таким образом, чтобы большие пальцы рук были направлены вверх. Так вы сможете минимизировать физические нагрузки.
Если будете держать плоскорез Фокина в руках правильно, об усталости в работе можно забыть
Какой материал использовался.
Для изготовления плоскореза использовал всё те же листы торсиона от старого ‘Запорожца’. Для интересующихся граждан есть адрес в Екатеринбурге предприятия(www.stenco.ru), которое может выслать металл марки 65Г.
Процесс изготовления плоскореза.
Первым этапом был отпуск металла.
- Разогрел в пламени паяльной лампы до вишнёвого цвета и оставил остывать на воздухе.
- Шлифмашинкой заточил край полотна под режущий нож.
- Просверлил отверстия для крепления к рукоятке. Трудновато, но на малых оборотах сверла процесс проходит легко.
- Мелом нарисовал линии, на которых должны быть изгибы, согласно чертежу Фокина.
- Закрепил в тисках немного выше линии изгиба отпущенный лист торсиона и, нагревая паяльной лампой место изгиба, разводным гаечным ключом согнул лист на соответствующий градус. Сгибать необходимо легко, без силы и необходимо следить, что бы не образовывались трещины или осколы. При нагреве чувствуется податливость металла.
- Следующие изгибы произвёл подобным способом.
- Самый важный момент наступает во время закалки. Пламя горелки от паяльной лампы направлялось вдоль полотна плоскореза и нагревалось до вишнёвого цвета. Перегревать не стоит.
- Удерживая большими столярными клещами за край, опустил раскалённое полотно в автомобильное масло на одну-две секунды. Две-три секунды подержал на воздухе и опустил в масло снова. Так до тех пор, пока масло не перестало кипеть на полотне. Перекал не пойдёт на пользу. Полотно легко сломается(испытано).
ВИДЫ И ОСОБЕННОСТИ РУЧНЫХ ПОЛОЛЬНИКОВ И НАСАДОК
Полольники, как и другие сельскохозяйственные приспособления, выпускаются разными заводами под разными марками. Но, стоит сказать, что отличаются они не только названиями, но и некоторыми конструктивными особенностями.
ПОЛОЛЬНИК «СТРИЖ»
Этот сельскохозяйственный инструмент выполнен в виде скобы из металла, которая равномерно заточена с обеих сторон. Благодаря такой конструкции он без труда срезает тонкий слой земли и оставляет его на месте, сохраняя структуру почвы.
Каленая сталь, из которой изготовлен инструмент, практически не требует заточки. Его не рекомендуется использовать на «забитых» грунтах и на целине – это малоэффективно. А вот для избавления от молодой поросли сорняков он будет как нельзя кстати.
ПЛОСКОРЕЗ ФОКИНА
У этого инструмента интересная история. В.В. Фокин придумал и сконструировал его после перенесения тяжелого инфаркта – работа с лопатой ему была противопоказана.
И, вместо того, чтобы бросить любимое огородничество он облегчил жизнь себе и многим другим дачникам. Выглядит плоскорез как металлическая скоба, а способна заменить почти все садово-огородние инструменты.

Плоскорез Фокина
Весит при этом очень мало. Плоскорезом можно рыхлить, вспушивать, подрезать, подрубывать, разбивать землю, нагребать и формировать гряды, прореживать.… Это действительно универсальный инструмент.
Выполняемые виды работ
Функции плоскореза и заменяемые им инструменты:
- скашивание бурьяна. Острое лезвие хорошо выполняет функции косы, убирая сорняки под самый корень;
- скирдование сорных трав и ботвы (заменяет грабли). Устройство рабочего полотна большого плоскореза таково, что им удобно подгребать даже тяжелые растительные остатки, не прилагая серьезных усилий;
- рыхление мелкое и глубокое. Лучше выполнять большим плоскорезом – его рабочее полотно слегка изогнуто. По качеству рыхления инструмент не уступает тяпкам и мотыгам;
- выкапывание сорняков. Их удобно поддевать заточенной торцевой частью;
- нарезание борозд и подготовка лунок под посев.
Инструмент пригоден для ворошения сена, перемешивания удобрений, очистки полов в стойлах для животных.
История создания плоскореза
Как видно из названия, идея создания и применения плоскореза принадлежит Владимиру Васильевичу Фокину. Он не был ученым и не просиживал дни и ночи в лаборатории, изобретая, тестируя и совершенствуя свое детище. Владимир Васильевич не посвящал свою жизнь идее создать инструмент, совмещающий в себе лопату, грабли и мотыгу, позволяющий без труда прорыхлить и прополоть грядки. Отслужив в армии, он пошел работать конструктором на машиностроительный завод, потом трудился на благо колхоза. За всю жизнь Фокин кем только не был: инженером по пожарной безопасности, председателем товарищеского и заседателем районного суда, депутатом, лектором, начальником штаба Гражданской обороны, журналистом газеты «Ленинец» — всего 18 общественных нагрузок. Но именно работа журналиста дала ему возможность соприкоснуться с вопросами земледелия, узнать от простых крестьян об актуальных тогда проблемах в этой сфере.
Читать также: Проверка уплотнения песка плотномером
Тяжкий труд не проходит бесследно. В 1987 году Владимир Васильевич получает тяжелейший инфаркт и инвалидность. На активной физической работе пришлось поставить крест. Но такой человек, как Фокин, привыкший к труду и не мыслящий себя без него, не мог сдаться просто так. «Дважды (месяца по три) выхаживали в больнице: обширный, как потом сказали, трансмуральный инфаркт. Инвалидность. Пенсию — «в дверь просовывают… Домашние — на работе и в учебе. Тишина — хоть волком вой. Ударился читать про шпионов – не то». Проснувшаяся любовь к земледелию натолкнула на мысль, что нужно придумать что-то такое, что позволит без лишней нагрузки работать хотя бы на своем огороде. Елена Николаевна — жена Фокина — в своих мемуарах вспоминает: «Володя долгое время работал над плоскорезом. На его столе часто лежали различные чертежи, схемы. Сначала он занимался этим просто ради интереса, но потом обычное любопытство переросло в серьезное дело». А сам автор изобретения описывает это процесс в своих заметках так: «Поиски ручного плоскореза были долгими. Изготовил десятки конструкций, начиная с плуга … Всё не то. Придумывал годы. Сделал — за 3 дня». Патент на изобретение плоскореза и его автор Владимир Васильевич Фокин. Фото с сайтов: www.offokin.ru, blagodatmir.ru Но так или иначе, плоскорез стал делом всей семьи Фокиных, и первое его испытание можно по праву назвать днем рождения: «Никогда не забуду тот день. Мы много шутили, смеялись. Плоскорез нам очень нравился, он был нашим детищем». Оформить патент на изобретение Владимир Васильевич решился только после того, как дал его «на пробу» всем друзьям. Плоскорез им очень понравился. Ну а его дальнейший путь был предсказуем. Положительная оценка незнакомых людей и широкая популярность среди любителей огородничества дала возможность открыть производство и даже поставлять плоскорезы в другие страны: Литву, Эстонию, Белоруссию и т.д. Изобретение пережило своего создателя, к сожалению, ушедшего в 2002 году.
Разновидности фрез для мотоблока
Фрезы на мотоблок могут отличаться друг от друга по форме и конструкции, количеству ножей и их расположению. Они устанавливаются в задней части мототехники и зависят от вала отбора мощности. Лучший результат почворезы дают при увеличении скорости движения.
Лезвия плавно и поочередно входят в почву, что благоприятно отражается на трансмиссии мотоблока.
Выделяют 2 разновидности фрез:
- активные, или саблевидные;
- гусиные лапки.
Активные саблевидные
В стандартный комплект мототехники входят саблевидные фрезы. Они эффективны и популярны среди фермеров.
Читать также: Датчики движения для включения света уличные характеристики
Нож активной фрезы для мотоблока представляет собой изогнутую на концах полосу. Загибы направлены поочередно в разные стороны.
В заводских условиях лезвия производят из прочной легированной или высокоуглеродистой стали с обязательной термической закалкой и обработкой высокочастотными токами. При самостоятельном изготовлении насадки мастера рекомендуют использовать рессорную термообработанную и закаленную сталь 50ХГФА.
Гусиные лапки
Навесные механизмы под названием «гусиные лапки» используются сравнительно недавно. Высокая эффективность достигается за счет их специфической формы. Конструкция фрез — цельносварная и неразборная. Ножи выполнены в форме треугольника, расположенного на конце стойки.

Заводские стандартные фрезы имеют такие размеры:
- ширина ножей — 41 см;
- длина реза — 38 см;
- высота орудия — 38 см;
- вес — 16 кг;
- номинальная рабочая скорость культиватора с фрезами — 2-5 км/ч.
Для изготовления почвенного орудия выбирают низкоуглеродистую сталь. Ножи самозатачивающиеся, при аккуратной эксплуатации их можно не точить.
Как собрать фрезы для мотоблока
Заводская фреза устанавливается, согласно инструкции по сборке. Для удобства работы пользуются специальными Х-образными козелками высотой 50 см, выполненными из дерева. Мотоблок устанавливают на сошник. Угол наклона должен составлять не менее 45°. Под рукоятку руля подставляют козелки и снимают колесо.
При сборке фрезы необходимо помнить, что оборудование состоит из правой и левой частей, которые скрепляются так, чтобы при движении техники вперед ножи своими режущими кромками входили в землю. Поэтому этот блок крепится по ходу движения.

Перед установкой фрезы на мотоблок своими руками необходимо проверить, чтобы пазы и отверстия на лопастях и лепестках навески соответствовали друг другу по диаметру. При неправильной схеме сборки мотокультиватор во время эксплуатации будет отклоняться от выбранного направления, процесс фрезерования обрабатываемой поверхности станет затруднительным.
Выполняемые виды работ
Функции плоскореза и заменяемые им инструменты:
- скашивание бурьяна. Острое лезвие хорошо выполняет функции косы, убирая сорняки под самый корень;
- скирдование сорных трав и ботвы (заменяет грабли). Устройство рабочего полотна большого плоскореза таково, что им удобно подгребать даже тяжелые растительные остатки, не прилагая серьезных усилий;
- рыхление мелкое и глубокое. Лучше выполнять большим плоскорезом – его рабочее полотно слегка изогнуто. По качеству рыхления инструмент не уступает тяпкам и мотыгам;
- выкапывание сорняков. Их удобно поддевать заточенной торцевой частью;
- нарезание борозд и подготовка лунок под посев.
Инструмент пригоден для ворошения сена, перемешивания удобрений, очистки полов в стойлах для животных.
Как работать плоскорезом
- 1-й — рыхление на глубину 5 см. Лезвие заглубите в землю на всю ширину и протяните на себя или вдоль грядки, держа плоскорез, как косу;
Для рыхления плоскорезом Фокина нож заглубите в землю и потяните на себя
Плоскорез держите так, чтобы нож двигался параллельно земле, слегка заглубите его и работайте так же, как граблями
При заделке бороздок нож расположен параллельно поверхности земли, двигать им можно вдоль или поперёк бороздок
- молодые сорняки на влажной земле срезайте плавными движениями, заводя лезвие на глубину 1–3 см;
- хорошо укоренившиеся сорняки на сухой земле подрубайте резкими движениями или методом косы, но лезвие должно находится под землёй на глубине 1–3 см;
Прополку грядок лучше делать малым плоскорезом, нож у него короче, риск повредить культурные растения меньше
Подгребайте землю к кустам всей плоскостью ножа, как тяпкой
Плоскорезом можно добраться туда, куда трудно дотянуться рукой
Плоскорезом можно обрезать усы, резко ударяя по ним режущей кромкой ножа
При скашивании травы плоскорезом им работают, как косой
Для нарезания борозд плоскорез поверните остриём вниз
Бороздки нарезаются остриём плоскореза
От себя дополню п. 14: мне твёрдые и большие комки земли удобнее разбивать не остриём, а пяткой — закруглённой частью, где плоскорез переходит в ручку. Носик — самая тонкая часть, пружинит, а пятка разбивает наверняка и вдребезги.
Видео: мастер-класс по работе с плоскорезом Фокина
Какой из двух плоскорезов использовать для той или иной работы, нетрудно определить самостоятельно. Так, у большого нож длиннее на 7–8 см и почти вдвое шире, значит, им выполняют самые сложные задачи: глубокое боронование земли, скашивание поросли, выкорчёвка сорняков и т. п. Малый пригоден для ювелирной работы: рыхления рядков на грядках, прополки клумбы, нарезание канавок для посева семян и пр.
Заточить плоскорез Фокина можно с помощью:
- наждака;
- дрели со специальной насадкой;
- обычного абразивного бруска или наждачной бумаги, обёрнутой вокруг деревянного бруска.
Плоскорез Фокина точат по трём граням (две стороны ножа и остриё) плюс изгиб, который идёт от черенка к лезвию. Он тоже является режущей рабочей частью инструмента. Скосы находятся с наружной стороны, их и шлифуют, угол заточки — 40–50 ° к внутренней поверхности.
Заточка плоскореза Фокина выполняется с внешней стороны по трём граням, включая изгиб, брусок или круг, надо шлифовать только фаски-скосы
В случае заточки на вращающемся наждачном круге нажим должен быть минимальным, чтобы не допустить нагрева режущей кромки. Иначе она потеряет первоначальную твёрдость, станет хрупкой и не сможет выдерживать прежние нагрузки.
При заточке на наждачном круге прижим должен быть минимальным
Плоскорез правят бруском, избавляются от заусенцев, выравнивают лезвия
Видео: заточка плоскореза Фокина
В конце сезона плоскорез нужно убрать на хранение в сухое помещение: сарай, кладовку, гараж. Перед этим очистите его от грязи, желательно смазать лезвия машинным маслом.
Свой плоскорез храню вместе со всем инструментом. Собираю грабли, тяпки, лопаты и отношу в сарай, под замок. Лезвия не смазываю, ни разу на плоскорезе ржавчины не видела, хотя весь тёплый сезон он находится под открытым небом, возле поливных бочек.



























